Control Unit Wireless;
Control Unit Wireless;
Single-point latch with emergency opening, Energy store, Polyamide GF black
Single-point latch with emergency opening, Energy store, Polyamide GF black

Single-point latch with emergency opening, Basic, Polyamide GF black; 3000-U301-01

https://www.emka.com/products/3000-u301-01 https://www.emka.com/web/image/product.template/65777/image_1920?unique=fad4bbc

Latch opens by switching on the power supply and locks as soon as the door is closed again


    This combination does not exist.

    Networked solution


    Product information:

    The single-point latch is used in special application areas as a locking system which is invisible from the outside.

    Version: Basic = Latch opens by switching on the power supply and locks as soon as the door is closed again.

    • Broad supply voltage range of 9 ... 32 V
    • Potential-free switch for remote monitoring of the state/door state
    • Emergency opening in case of power failure, possible via Bowden cable
    • Connection possible to Locking Unit 3000-U32-x or Access Unit 3000-U47-x; Adapter cable optional

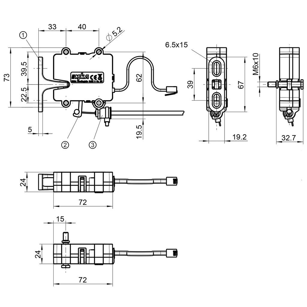
    Caption (see drawing):

    ① = Catch or locking bolt
    ② = Lever for mechanical unlocking, e.g. Bowden cable
    ③ = Bowden cable mounting

    Pin assignment of the RJ45 connector (see table):

    PIN 3 = ④ Contact
    PIN 4 = ⑤  V -
    PIN 5 = ⑥ V +
    PIN 6 = ⑦ Contact

    Assembly instruction:

    Per Control Unit Wireless max. 64 Locking Units ≘ max. 512 single-point latches
    Keypad / Card reader with Access Unit optional

    Internal Reference: 3000-U301-01
    Barcode: 3000-u00301-0000001
    Product Type: Single-point latch
    Program: 3000
    Material of the module : Polyamide GF
    Surface of the module: black
    Single point locking with integrated locking contact: Basic
    Stand-Alone or networked system : Networked solution
    Connected Solution: Access control and monitoring system
    No Specifications
    View All Products
    Catch
    ELM - Locking Unit
    Electronic components
    Here you can find the product data sheets and CAD files of this product